-
沒有找到您想要的百科
O基礎看懂手機射頻基礎原理

頻段和模式
技術化的解釋:
頻段:無線通信使用的電磁波的頻率。像藍牙2.4G、5G WIFI等,講的就是電磁波載波頻率。一段頻率,叫做頻段。
模式:電磁波搭載數據的格式。例如2G、3G、4G就是三種不同的數據格式。
通俗解釋:
一個大叔和一個妹子一起說話,聽眾可以很輕易的區分出男聲和女聲,這是因為頻率不同,一個是低音一個是高音。
一群人在一起說話,有人說英語有人說中文,大家肯定能輕松分辨出中文說的什么。這是因為模式不同,兩個相同語言的人,能夠互相交流。
之所以需要不同的模式和頻段,是為了讓不同的無線傳輸產品能夠同時工作。
頻譜圖
手機常用的頻段
2G GSM(國內):900MHz、1800MHz。(國外還有2個)
3G WCDMA(國內):2100MHz。(國外還有3個)
4G FDD-LTE和TDD-LTE(國內):850、900、1800、1900、2100、2300、2600。(國外還有幾十個頻段)。
這些頻段,實際上是一段,而不是一個頻點。平時大家會用中心點取整數的頻段數字,作為頻段的稱呼。
2G的時候,頻段很少,大家還有心情起名字:GSM900、GSM850、DCS、PCS。
到3G、4G的時候,那么多頻段起名字是不現實的,寫頻率數字又太麻煩,所以就用編號來寫頻段。例如2100MHz的是Band1,850MHz的是Band5,2600MHz的有Band 38和Band41。
例如,中國移動現在的網絡有2G band3.8;3G band34.39;4G band38.38.40.41。中國聯通現在用的有:2G band3.8;3G band1;4G band 1.3.8.41
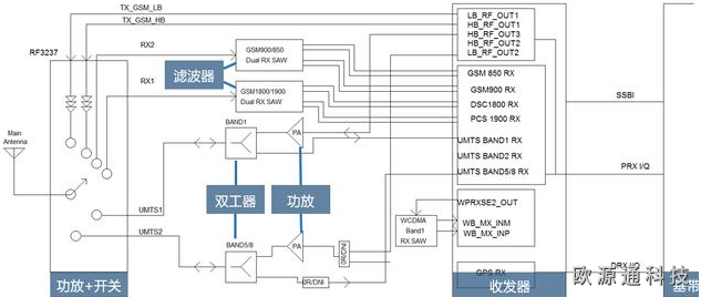
某3G手機射頻架構分析
講完了基礎,簡單的來給大家講講:
平臺:高通驍龍xxx(時間太久遠,小編也記得不具體型號了)
支持頻段:2G band2.3.5.8,3G band 1.5/8
TX是發射,RX是接收。發射的路徑上有功放PA,接收的路徑上有濾波器。
LB=Low Band,通常是band5.8這樣的不到1G的頻段。
HB=High Band,通常是band 1.2.3這樣的超過1G的頻段。
開關:3G手機只有一個天線,因此需要開關來切換不的頻段。手機工作在哪個頻段下,就把開關打到哪個頻段上去。同時只有一個頻段能工作。這一點不像動輒好幾根天線的無線路由器。
2G信號流向解析
GSM是時分復用(TDD)的網絡,一會兒發射,一會兒接收,兩者不能同時工作。因此通過開關來切換發射和接收通路。
為什么打電話的時候感覺不到斷續呢?因為開關切換速度很快(小于1毫秒)。相當于一個人跟多個人說話,先對A說一個字,再對B說一個字,然后對C說一個字,再轉回來給A再說一個字,然后是B、C,如此循環。說的夠快了,每個人聽到的都是自己的獨立的一段話。(叫做TDMA,時分多址)
3G信號流向解析
WCDMA是頻分復用的網絡(FDD),發射和接收的頻段略有差別:手機發給基站的小于2100MHz,基站發給手機的大于2100MHz,兩者互不干擾,所以發射和接收可以同時使用一根天線。
雙工器負責把電磁波信號沿著2100MHz這個中心點一切為二,小的發射出去給基站,大的送給收發器解析數據。
多個手機同時打電話,怎么來區分呢?相當于一個大喇叭在廣播,同時說了中文、英語、法語,中國人聽懂了中文的那部分,英國人聽懂了英語的那部分,法國人聽懂了法語的那部分。(叫做CDMA,碼分多址)
4G也是一樣的?
4G也是一樣的,FDD-LTE和WCDMA類似,TDD-LTE和GSM類似。
只不過像移動手機3模8頻、全網通手機5模13頻、iPhone全球版二三十個頻段,整個架構圖比3G手機看起來就復雜多了。
并且4G多了一個分集接收天線,用于提升接收性能,提高傳輸速度。
4G的元器件遠多于2G